8 (925) 663-83-63Call-центр
пн-вс: 10:00-19:00
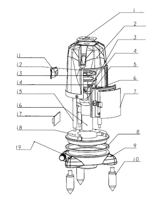
| N | Артикул | Название | Срок отгрузки | Цена | Купить |
| 1 | 2202.010050 | Панель | – | ||
| 2 | 2202.010100 | Кожух внешний | – | ||
| 3 | 2202.010150 | Кольцо внутреннее | – | ||
| 4 | 2202.010200 | Кольцо внешнее | – | ||
| 5 | 2202.010250 | Диод лазерный | – | ||
| 6 | 2202.010300 | Отсек батарейный | – | ||
| 7 | 2202.010350 | Крышка отсека батарейного | – | ||
| 8 | 2202.010400 | Кольцо | – | ||
| 9 | 2202.010450 | Основа | – | ||
| 10 | 2202.010500 | Опора регулируемая | – | ||
| 11 | 2202.010550 | Окно горизонтальное | – | ||
| 12 | 2202.009900 | Плата контрольная | – | ||
| 13 | 2202.010650 | Колодка | – | ||
| 14 | 2202.010700 | Пыльник | – | ||
| 15 | 2202.010750 | Штанга | – | ||
| 16 | 2202.010800 | Маятник | – | ||
| 17 | 2202.010850 | Плата контрольная и выпрямительная в сборе | – | ||
| 18 | 2202.010900 | Площадка поворотная | – | ||
| 19 | 2202.010950 | Регулятор точной настройки | – |
| Найдено товаров: 19 |
|
8 (925) 663-83-63 Call-центр
пн-вс: 10:00-19:00
| Введите номер заказа |
| Введите номер своего заказа, что бы узнать его текущий статус. Что бы получить доступ к расширенным функциям, пройдите не сложную регистрацию. Зарегистрироваться |